Запасные части ЧТЗ Запасные части ЧТЗ
Псков
Например:
Актобе
Алдан
или
Выбрать автоматически
Актобе
Алдан
Алматы
Алчевск
Архангельск
Астана
Астрахань
Атырау
Баку
Балашиха
Барнаул
Белгород
Бердянск
Бишкек
Владивосток
Владикавказ
Воркута
Воронеж
Горловка
Грозный
Донецк
Екатеринбург
Иваново
Ижевск
Иркутск
Казань
Калининград
Каменск-Уральский
Караганда
Каховка
Кемерово
Киров
Комсомольск-на-Амуре
Костанай
Краснодар
Красноярск
Красный луч
Ленск
Луганск
Магадан
Магнитогорск
Макеевка
Махачкала
Мелитополь
Минск
Мирный (Якутия)
Москва
Мурманск
Нерюнгри
Нижневартовск
Нижний Новгород
Нижний Тагил
Новая каховка
Новокузнецк
Новосибирск
Новый Уренгой
Норильск
Ноябрьск
Нур-Султан
Омск
Оренбург
Ош
Павлодар
Пермь
Петрозаводск
Петропавловск
Петропавловск-Камчатский
Псков
Ростов-на-Дону
Салехард
Самара
Санкт-Петербург
Саратов
Севастополь
Семей
Симферополь
Сочи
Ставрополь
Сургут
Сыктывкар
Тараз
Ташкент
Токмак
Томск
Тында
Тюмень
Ульяновск
Усинск
Усть-Каменогорск
Уфа
Хабаровск
Ханты-Мансийск
Херсон
Челябинск
Чита
Шымкент
Экибастуз
Энергодар
Южно-Сахалинск
Якутск
Ваш город
Псков
Войти
Запасные части к тракторам на одном сайте
+7 (932) 303-00-10
+7 (932) 303-00-10
г. Псков, ул. Леона Поземского, д. 110Д
Пн-Пт: 9:30-18:30 Cб-Вс: Выходной
Отправить заявку


Впускной и выпускной коллекторы Т-170 Б-170 трактора в Пскове


/
с НДС 20%
Описание

Разборка впускного и выпускного коллекторов Т-170

Слейте жидкость из системы охлаждения. Снимите мультициклонный воздухоочиститель, заднюю крышку капота. Отсоедините и снимите воздухоочиститель, правый боковой кронштейн воздухоочистителя, нагнетательный патрубок, идущий от турбокомпрессора.

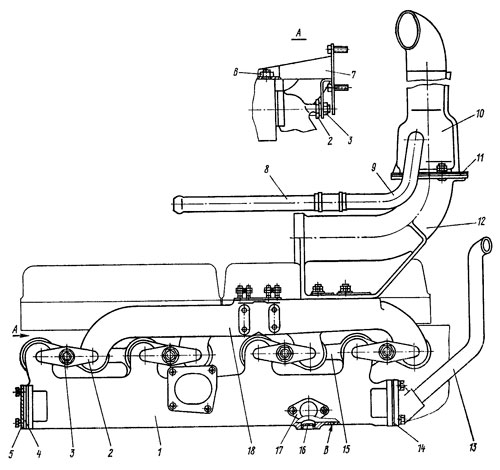
Впускной и выпускной коллекторы
Рис. 22. Впускной и выпускной коллекторы

Отверните гайки крепления выпускного патрубка 12 (рис. 22) и, сдвигая вправо, снимите его вместе с выхлопной трубой 10. Отсоедините, при необходимости, выхлопную трубу 10 от выпускного патрубка 12, переходную трубу 8 от патрубка 9 выхлопной трубы. Снимите турбокомпрессор. Отверните болты и снимите выхлопную трубу 13 пускового двигателя, левый боковой кронштейн 5 крепления воздухоочистителя и крышку 4. Отверните две гайки 6 со шпилек крепления головки цилиндров и гайку 3 со шпильки крепления выпускного и впускного коллекторов, снимите кронштейн 7 воздухоочистителя и прижимную планку 2. Отверните две гайки и выверните две шпильки крепления впускного и выпускного коллекторов пускового двигателя из фланца 17. Снимите сливную трубу от пускового двигателя к головке цилиндров дизеля. Снимите остальные прижимные планки 2, впускной 1 и выпускной 18 коллекторы.

Можно снимать выпускной коллектор 18 в сборе с турбокомпрессором, выпускным патрубком 12 и выхлопной трубой 10. Не выбивайте технологические заглушки 16 во впускном коллекторе без надобности.

Технические требования на детали коллекторов

  1. Поверхности фланцев, прилегающих к головке цилиндров впускного и выпускного коллекторов, должны лежать в одной плоскости. Отклонение допускается не более 0,15 мм.

  2. Внутреннюю полость впускного коллектора подвергайте гидравлическому испытанию под давлением 196 кПа (2 кгс/см²) в течение 3 мин или испытанию воздухом при тех же условиях. Падение давления не допускается.

  3. Спускное отверстие В диаметром 3,5 мм снизу во впускном коллекторе должно быть очищено от грязи и нагара.

  4. При установке гаек крепления турбокомпрессора, выхлопной трубы и выпускного патрубка поверхности шпилек смажьте смесью масла цилиндрового «52» 60%, графита тигельного 40% или графита элементного — 40%.

Установка коллекторов Т-170

Установите на шпильки две новые прокладки 15 (см. рис. 22). Установите впускной коллектор 1. Установите выпускной коллектор 18 и закрепите прижимными планками 2 и гайками 3 вместе с впускным коллектором. Левую гайку 3 затягивайте после установки кронштейна 7.

Момент затяжки гаек 160... 200 Н/м (16... 20 кгс/М).

Установите турбокомпрессор, выпускной патрубок 12, подвинув его на уплотняющее кольцо вставки турбокомпрессора, выхлопную трубу 10, подложив прокладку 11. Присоедините к патрубку. 9 выхлопной трубы переходный патрубок 8, надев рукав и стянув его хомутом. Резьбу шпилек перед навертыванием гаек смажьте графитовой смазкой.

Установите:
  • на левую шпильку крепления коллекторов и две шпильки крепления головки цилиндров кронштейн 7 и закрепите его гайками 6 и 3;

  • нагнетательный патрубок от турбокомпрессора к впускному коллектору и правый боковой кронштейн крепления воздухоочистителя;

  • на впускной коллектор 1 выхлопную трубу 13 пускового двигателя, положив прокладку 14 овальным отверстием вниз, закрепите четырьмя болтами с пружинными шайбами;

  • крышку 4 с прокладкой и закрепите вначале двумя левыми болтами с пружинными шайбами, затем двумя болтами с шайбами вместе с левым боковым кронштейном 5 воздухоочистителя;

  • сливную трубу пускового двигателя;

  • воздухоочиститель, подсоедините к турбокомпрессору трубки подвода и отвода смазки и провод к датчику давления масла;

  • заднюю крышку капота;

  • мультициклон воздухоочистителя.
Впускной и выпускной коллекторы