Запасные части ЧТЗ Запасные части ЧТЗ
Псков
Например:
Актобе
Алдан
или
Выбрать автоматически
Актобе
Алдан
Алматы
Алчевск
Архангельск
Астана
Астрахань
Атырау
Баку
Балашиха
Барнаул
Белгород
Бердянск
Бишкек
Владивосток
Владикавказ
Воркута
Воронеж
Горловка
Грозный
Донецк
Екатеринбург
Иваново
Ижевск
Иркутск
Казань
Калининград
Каменск-Уральский
Караганда
Каховка
Кемерово
Киров
Комсомольск-на-Амуре
Костанай
Краснодар
Красноярск
Красный луч
Ленск
Луганск
Магадан
Магнитогорск
Макеевка
Махачкала
Мелитополь
Минск
Мирный (Якутия)
Москва
Мурманск
Нерюнгри
Нижневартовск
Нижний Новгород
Нижний Тагил
Новая каховка
Новокузнецк
Новосибирск
Новый Уренгой
Норильск
Ноябрьск
Нур-Султан
Омск
Оренбург
Ош
Павлодар
Пермь
Петрозаводск
Петропавловск
Петропавловск-Камчатский
Псков
Ростов-на-Дону
Салехард
Самара
Санкт-Петербург
Саратов
Севастополь
Семей
Симферополь
Сочи
Ставрополь
Сургут
Сыктывкар
Тараз
Ташкент
Токмак
Томск
Тында
Тюмень
Ульяновск
Усинск
Усть-Каменогорск
Уфа
Хабаровск
Ханты-Мансийск
Херсон
Челябинск
Чита
Шымкент
Экибастуз
Энергодар
Южно-Сахалинск
Якутск
Ваш город
Псков
Войти
Запасные части к тракторам на одном сайте
+7 (932) 303-00-10
+7 (932) 303-00-10
г. Псков, ул. Леона Поземского, д. 110Д
Пн-Пт: 9:30-18:30 Cб-Вс: Выходной
Отправить заявку


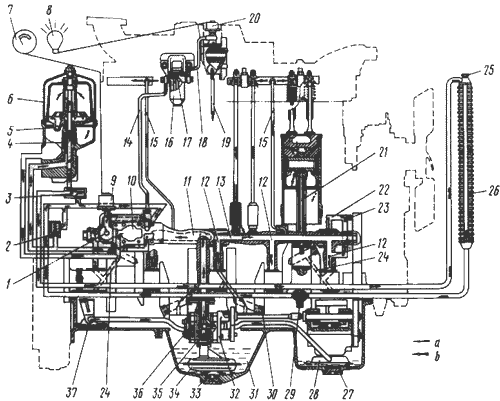
Снятие и установка уравновешивающего механизма


/
с НДС 20%
Описание
Слить масло из картера дизеля.

Отвернуть болты крепления картера к блоку дизеля, кожуху распределения шестерен и кожуху маховика, снять картер. Если картер невозможно снять полностью с дизеля, установленного на агрегате, снять только его переднюю часть. При этом следить, чтобы не была повреждена прокладка между блоком и картером. Снять передний маслоприемник 28 (см. рис. 15).

Вывести стопорные кольца из канавок на шлицевой соединительной муфте, вынуть штифты и сдвинуть муфту по шлицам на валик привода маслонасоса.

Расконтрить стопорные пластины и отвернуть болты крепления механизма к блоку. Снять механизм со штифтов 12 (см. рис. 7). Если между корпусом 11 механизма и блоком имеются регулировочные прокладки, сохранить их для использования при последующей установке механизма на дизель. При разборке уравновешивающего механизма раскомплектование корпуса 11 с поддоном 14, замена отдельных втулок 1 или их перестановка не допускаются.

Перед установкой уравновешивающего механизма проверить затяжку гаек крепления поддона 14 уравновешивающего механизма, а также болтов крепления шестерни 5 на ведущем противовесе 9. При необходимости крепежные детали подтянуть.

Установить уравновешивающий механизм так, чтобы при положении поршней первого и четвертого или второго и третьего цилиндров в ВМТ риска на торце зуба шестерни привода уравновешивающего механизма находилась между метками на поддоне. При этом метки «С» на зубчатых венцах противовесов 9 и 10 должны совпадать.

Завернуть болты крепления механизма. Под головки болтов установить стопорные пластины. Если устанавливается уравновешивающий механизм, снятый с этого же двигателя, то между лапами корпуса и блоком установить те же регулировочные прокладки.

Проверить зазор между зубьями малой промежуточной шестерни и шестерней на промежуточном валу. Зазор должен быть в пределах 0,08-0,4 мм. При отсутствии зазора или при зазоре меньше чем 0,08 мм установить под лапы корпуса механизма регулировочные прокладки. Общая толщина прокладок под каждой лапой не должна превышать 0,3 мм. Зазор в зубьях проверять при затянутых болтах крепления уравновешивающего механизма к блоку.

Отрегулировав зазор в зубьях, еще раз убедиться в правильности установки механизма по совпадению установочных меток, после чего затянуть болты крепления уравновешивающего механизма и законтрить их, отогнув на грани болтов концы
Снятие и установка уравновешивающего механизма