Запасные части ЧТЗ Запасные части ЧТЗ
Псков
Например:
Актобе
Алдан
или
Выбрать автоматически
Актобе
Алдан
Алматы
Алчевск
Архангельск
Астана
Астрахань
Атырау
Баку
Балашиха
Барнаул
Белгород
Бердянск
Бишкек
Владивосток
Владикавказ
Воркута
Воронеж
Горловка
Грозный
Донецк
Екатеринбург
Иваново
Ижевск
Иркутск
Казань
Калининград
Каменск-Уральский
Караганда
Каховка
Кемерово
Киров
Комсомольск-на-Амуре
Костанай
Краснодар
Красноярск
Красный луч
Ленск
Луганск
Магадан
Магнитогорск
Макеевка
Махачкала
Мелитополь
Минск
Мирный (Якутия)
Москва
Мурманск
Нерюнгри
Нижневартовск
Нижний Новгород
Нижний Тагил
Новая каховка
Новокузнецк
Новосибирск
Новый Уренгой
Норильск
Ноябрьск
Нур-Султан
Омск
Оренбург
Ош
Павлодар
Пермь
Петрозаводск
Петропавловск
Петропавловск-Камчатский
Псков
Ростов-на-Дону
Салехард
Самара
Санкт-Петербург
Саратов
Севастополь
Семей
Симферополь
Сочи
Ставрополь
Сургут
Сыктывкар
Тараз
Ташкент
Токмак
Томск
Тында
Тюмень
Ульяновск
Усинск
Усть-Каменогорск
Уфа
Хабаровск
Ханты-Мансийск
Херсон
Челябинск
Чита
Шымкент
Экибастуз
Энергодар
Южно-Сахалинск
Якутск
Ваш город
Псков
Войти
Запасные части к тракторам на одном сайте
+7 (932) 303-00-10
+7 (932) 303-00-10
г. Псков, ул. Леона Поземского, д. 110Д
Пн-Пт: 9:30-18:30 Cб-Вс: Выходной
Отправить заявку


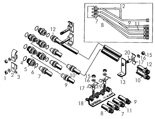
Установка трубопроводов управления задним механизмом навески болотоходных тракторов на Т-170


/
с НДС 20%
Описание
Установка трубопроводов управления задним механизмом навески болотоходных тракторов Т-170
Поз.НаименованиеАртикулКол-во в сборке
0Установка трубопроводов48-26-17СП1
1Гайка700-30-24172
2Шайба 16ОТ65Г092
3Планка18-26-237-012
3Планка18-26-237-022
4Кольцо 467646
5Штуцер18-26-5616
6Кольцо 468566
7Труба48-26-154СП1
8Труба48-26-155СП1
9Труба48-26-157СП1
10Труба48-26-158СП1
11Труба48-26-156СП1
12Труба48-26-185СП1
13Кронштейн50-26-122СП1
14Планка40-26-101СП2
15Гайка30113
16Шайба12ОТ65Г093
17Прижим 50-60-2303
18Кронштейн50-26-155СП1
Установка трубопроводов управления задним механизмом навески болотоходных тракторов