Запасные части ЧТЗ Запасные части ЧТЗ
Псков
Например:
Актобе
Алдан
или
Выбрать автоматически
Актобе
Алдан
Алматы
Алчевск
Архангельск
Астана
Астрахань
Атырау
Баку
Балашиха
Барнаул
Белгород
Бердянск
Бишкек
Владивосток
Владикавказ
Воркута
Воронеж
Горловка
Грозный
Донецк
Екатеринбург
Иваново
Ижевск
Иркутск
Казань
Калининград
Каменск-Уральский
Караганда
Каховка
Кемерово
Киров
Комсомольск-на-Амуре
Костанай
Краснодар
Красноярск
Красный луч
Ленск
Луганск
Магадан
Магнитогорск
Макеевка
Махачкала
Мелитополь
Минск
Мирный (Якутия)
Москва
Мурманск
Нерюнгри
Нижневартовск
Нижний Новгород
Нижний Тагил
Новая каховка
Новокузнецк
Новосибирск
Новый Уренгой
Норильск
Ноябрьск
Нур-Султан
Омск
Оренбург
Ош
Павлодар
Пермь
Петрозаводск
Петропавловск
Петропавловск-Камчатский
Псков
Ростов-на-Дону
Салехард
Самара
Санкт-Петербург
Саратов
Севастополь
Семей
Симферополь
Сочи
Ставрополь
Сургут
Сыктывкар
Тараз
Ташкент
Токмак
Томск
Тында
Тюмень
Ульяновск
Усинск
Усть-Каменогорск
Уфа
Хабаровск
Ханты-Мансийск
Херсон
Челябинск
Чита
Шымкент
Экибастуз
Энергодар
Южно-Сахалинск
Якутск
Ваш город
Псков
Войти
Запасные части к тракторам на одном сайте
+7 (932) 303-00-10
+7 (932) 303-00-10
г. Псков, ул. Леона Поземского, д. 110Д
Пн-Пт: 9:30-18:30 Cб-Вс: Выходной
Отправить заявку


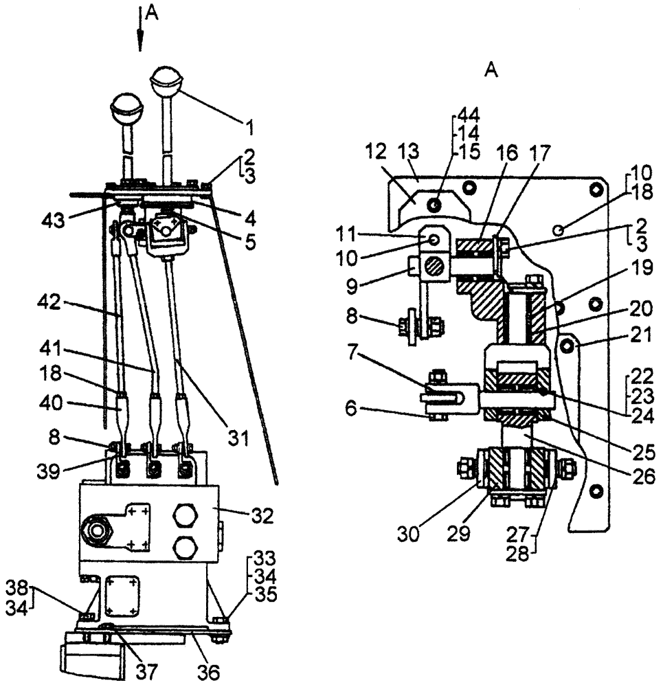
Управление гидрораспределителем для трактора с гидромеханической трансмиссией на Т10М / Б10М


/
с НДС 20%
Описание
Управление гидрораспределителем для трактора Т10М с гидромеханической трансмиссией
# Номер запчасти Наименование детали Кол-во в сборке
64-82-73СП 1
64-82-73-01СП
Управление гидрораспределителем (для трактора с гидромеханической трансмиссией) 1
1 13310СП Рукоятка 2 1; 1 2
2 - Болт М8-6g×16.58.019 11 1; 9 2
3 - Шайба 8Т 65Г 09 11 1; 9 2
4 700-40-7780 Уплотнитель 1
5 700-38-2525 Пружина 2
6 700-28-2483-01 Болт 1
7 64-82-89 Палец 1
8 700-28-2508 Болт 4 1; 2 2
9 64-82-37 Валик 1
10 - Болт М10-6g×25.58.019 5 1; 4 2
11 61-26-179СП Рычаг 1
12 700-42-2662 Крышка 1
13 64-82-196 Лист 1
14 - Болт М10-6g×20.58.019 6 1; 4 2
15 Шайба 10 ОТ 65Г 09 7 1; 4 2
16 64-82-191 Опора 1
17 64-82-43 Ригель 3 1; 2 2
18 - Гайка М10-7Н.6.019 8 1; 6 2
19 64-82-41 Проставка 1
20 - Подшипник 941/17 8 1; 6 2
21 700-42-2661 Крышка 1
22 - Болт М6-6g×45.88.35.019 1
23 - Гайка М6-7Н.6.019 1
24 - Шайба 6Т 65Г 09 1
25 64-82-40 Вилка 1
26 64-82-293СП Рычаг 1
27 64-82-158 Вилка 1
28 - Подшипник ШС-10 2
29 64-82-57 Цапфа 1
30 31437 Шайба 4
31 50-26-798 Тяга 1
32 50-26-61СП 4
-


Гидрораспределитель
Распределитель гидравлический 5
Р160-3/1 111У
Р160-3/1 111Т
1
1


33 - Болт М12×35.58.019 2
34 - Шайба 12 ОТ 65Г 09 6
35 3011 Гайка 2
36 18-26-436 Планка 1
37 - Болт М12×25.58.019 2
38 28556 Болт 2
39 64-82-216 Рычаг 3 1; 2 2
40 64-13-168СП Стяжка 3 1; 2 2
41 50-26-743СП Тяга 1
42 50-26-742СП 1 Тяга 1
43 700-40-7781 1 Уплотнитель 1
44 31308-1 Шайба 6
1 Для трактора с бульдозерным с гидроперекосом и рыхлительным оборудованием.
2 Для трактора с бульдозерным оборудованием.
3 Заказывать P160.000BPK Распределитель. Комплект.
4 Заказывать 64-26-285СП Распределитель. Комплект.
5 Для тропиков.
Управление гидрораспределителем для трактора с гидромеханической трансмиссией